新闻中心

- 联系我们
- 地址:天津市宁河区经济开发区二经路
- 邮编:301500
- 电话:022-69118601 69118600
- 联系人:王厂长 孙厂长
- 电子邮箱:wh@changhaoshiye.com sunming@changhaoshiye.com
- 国外业务:崔先生 market1@changhaoshiye.com
- 新闻资讯
企业名称:天津昌昊实业有限公司
地址:天津市宁河区经济开发区三经路
联系人:么学义 电话: 17526566558
传真: 022-69118619 E-mail:yxy4561@sina.com
核查机构:天津中至信科技发展有限公司(公章)
地址:天津市华苑高新技术产业园开华道顶佳孵化器基地2-1706
联系人:冯建雨电话:022-23771886
传真:022-83709778E-mail: Kaiweniby@126.com
主要核查人员情况
|
姓名 |
职称 |
主要职责 |
签字 |
|
郑玉成 |
工程师 |
负责人 |
|
|
冯建雨 |
工程师 |
报告编制 |
|
|
薛凯文 |
工程师 |
技术审核 |
|
|
刘鹤施 |
工程师 |
报告校对 |
|
1 概述 1
1.1 核查目的 1
1.2 核查依据 1
1.3 核查过程 1
1.3.1核查准备 2
1.3.2 文件评审 2
1.3.3 现场核查 3
1.3.4报告编制 4
2 企业概况 4
2.1基本情况 4
2.2综合能源消费量 6
2.3工业总产值及工业增加值 7
3 核算边界确定 7
3.1核算边界 7
3.2企业排放源列表 9
3.3主要耗能设备 9
4 排放量核算 15
4.1 核算方法符合性 15
4.2 活动水平数据符合性 15
4.3 排放因子符合性 17
4.4 碳排放量计算过程及结果 18
4.4.1直接排放 18
4.4.2间接排放 18
4.4.3排放量汇总 18
4.4.4 核算结果分析: 19
5核查结论 19
6核查资料附件 21
1 概述
1.1 核查目的
根据《国家发展改革委办公厅关于切实做好全国碳排放权交易市场启动重点工作的通知9》(发改办气候[2016]57号)、《关于进一步规范报送全国碳排放权交易市场拟纳入企业名单的通知》(国家发改委,2016年5月13日)、《全国碳排放权交易市场建设方案(发电行业)》的要求和安排,天津中至信科技发展有限公司(以下简称“中至信”)受企业委托,对天津昌昊实业有限公司(以下简称“受核查方”)2018年度温室气体排放报告进行核查,核查目的包括:
(1)确认受核查方提供的二氧化碳排放报告及其支持文件是否是完整可信,是否符合《《中国钢铁生产企业温室气体排放核算方法与报告指南》(试行)》的要求;
(2)认受核查方提供的监测计划是否完整,是否能满足《《中国钢铁生产企业温室气体排放核算方法与报告指南》(试行)》中关于活动水平数据监测的要求;
(3)根据《《中国钢铁生产企业温室气体排放核算方法与报告指南》(试行)》的要求,对记录和存储的数据进行评审,确认数据及计算结果是否真实、可靠、正确。
1.2 核查依据
《碳排放权交易管理暂行办法》(中华人民共和国国家发展和改革委员会令第17号)
《国家发展改革委办公厅关于切实做好全国碳排放权交易市场启动重点工作的通知》(发改办气候〔2016〕57号)
《关于进一步规范报送全国碳排放权交易市场拟纳入企业名单的通知》(国家发改委应对气候变化司2016年5月13日印发)
《天津市碳排放权交易管理暂行办法》(天津市发改委2016年3月21日印发)
《天津市人民政府办公厅关于印发天津市“十三五”控制温室气体排放工作实施方案的通知》(津政办发〔2017〕35号)
《中国钢铁生产企业温室气体排放核算方法与报告指南》(试行)《碳排放权交易第三方核查参考指南》
《碳核查覆盖行业及代码》
《用能单位能源计量器具配备与管理通则》(GB 17167-2006)
《综合能耗计算通则》(GB/T2589-2008)
《电子式交流电能表检定规程》(JJG596-2012)
《2006年IPCC国家温室气体清单指南》
《省级温室气体清单编制指南(试行)》
其他适用的法律法规和相关标准
1.3 核查过程
1.3.1. 核查准备与安排
受天津昌昊实业有限公司的委托,中至信根据核查员的技术能力、企业的规模和经营场所数量等实际情况,组成了核查组于2019年8月30日进行2018年度碳排放核查。
核查组由冯建雨、薛凯文两名核查员组成,并指定薛凯文为核查组长;就企业实际情况进行了现场访问。
1.3.2. 文件评审
核查组于2018年9月4日对受核查方2018年度温室气体排放的相关资料进行了评审。文件评审对象和内容包括:2018年度温室气体排放报告、企业基本信息文件、排放设施清单、活动水平数据和排放因子数据信息文件等。详细评审的文件清单见本报告“支持性文件清单”部分。
通过文件评审,核查组识别出如下现场评审的重点:
(1)受核查方核算边界,包括地理边界、排放设施和排放源识别等;
(2)活动水平数据的获取、记录、传递和汇总的信息流管理;
(3)排放因子和相关参数的获取、记录、传递和汇总的信息流管理;
(4)核算方法和排放数据计算过程;
(5)计量器具和监测设备的校准和维护情况;
(6)质量保证和文件存档的核查。
1.3.3. 现场核查
1.3.3.1对2019年8月30日,核查组进入企业现场进行核查。该公司么学义等接待核查组一行。
企业基本情况的核查
核查组通过与相关负责人进行座谈,了解企业2018年企业生产基本状况、产品及产能变化情况、碳排放及能源管理现状、核查年度所采取的温室气体排放控制措施等,并通过拍照等形式记录核查过程。
核查组通过查阅企业营业执照、组织机构代码证、基本情况介绍、工艺流程图,以及能源统计报表等相关支持性文件并同时访谈企业,了解企业基本情况、主要生产工艺和产品情况。
1.3.3.2核算边界及排放源的核查
核查组通过现场核查发现:企业的核算边界及排放源情况与企业《天津昌昊实业有限公司2018年度碳盘查报告》所述内容一致。
1.3.3.3 对核算方法、活动水平数据、排放因子以及排放量计算的核查
核查组对该企业《天津昌昊实业有限公司2018年度碳盘查报告》中所采用的核算方法进行核查,发现:企业所选用的核算方法符合《中国钢铁生产企业温室气体排放核算方法与报告指南》(试行)的要求,具体内容详见本报告4.1。
核查组对该企业《天津昌昊实业有限公司2018年度碳盘查报告》中的各项活动水平数据及来源进行核查,并给出了核查结论,具体内容详见本报告4.2。
核查组对该企业《天津昌昊实业有限公司2018年度碳盘查报告》中的各项排放因子选取的科学性及合理性进行核查,并给出了核查结论,具体内容详见本报告4.3。
核查组对该企业《天津昌昊实业有限公司2018年度碳盘查报告》中碳排放计算结果进行复核验算,并给出了核查结论,具体内容详见本报告4.4。
1.3.3.4对工业总产值及产量的核查
核查组通过查阅该企业上报国家统计局的《能源购进、消费与库存》(B205-1表)与《主要工业产品销售、库存、订货》(B204-2表),核实了企业工业总产值、产量等数据,发现:天津昌昊实业有限公司与上报国家统计局的《主要工业产品销售、库存、订货》中的总产量一致,因此工业总产值与产量数据可信。
1.3.4报告编制
核查组根据现场核查发现及交叉核对结果,按照《中国钢铁生产企业温室气体排放核算方法与报告指南》(试行)等相关要求,编制了碳排放核查报告。报告正文内容包括:概述、企业概况、核算边界确定、碳排放量核算、核查结论共五个部分。
碳排放核查报告编写完成后,已通过独立于核查组成员的“技术委员会”技术审核,并最终由技术负责人审定签发。
此外,核查组以安全和保密的方式,保管核查过程中的工作记录、企业相关核查资料以及核查报告等全部书面和电子文件,保存期为5年。
2、企业概况
|
企业名称 |
天津昌昊实业有限公司 |
成立时间 |
1999年1月8日 |
||||||||||||||
|
法人性质 |
☑独立法人 □视同独立法人 |
法人代表 |
余振兴 |
||||||||||||||
|
所属行业 |
黑色金属铸造业C3391 |
统一社会信用代码 |
91120221712815646H |
||||||||||||||
|
地址 |
天津市宁河区经济开发区三经路 |
注册地 |
天津市宁河区 |
||||||||||||||
|
企业基本情况概述 |
|||||||||||||||||
|
(1) 企业概况: 天津昌昊实业有限公司坐落于天津市宁河区经济开发区,注册资金2448万元,固定资产1.8亿人民币。公司占地面积72423.3平方米,主要生产汽车、机车、风能发电设备零部件和大中型箱体类产品及其它机械产品。主要客户全部为世界知名的跨国公司。公司拥有自主出口权,产品出口到美国、德国、比利时、法国、西班牙等国家。昌昊公司被授予“中国铸造行业千家重点骨干企业”、“天津市铸造行业20强重点企业”、“国家级科技型中小企业”。公司自主研发的发明专利3项,实用新型专利16项。 公司下辖铸造、机加工两个工厂,年铸造、机加工能力各1.2万吨。机加工厂全部采用进口机械设备,现有大型卧式加工中心十六台,立式加工中心十一台,三坐标检测机四台,其它数控和普通机床数十台。加工工件可达到2米X1.6米。铸造厂生产设备和检测设备均达到国内外先进水平。产品最大工件可达3吨,其中灰铸铁、球墨铸铁、低温球墨铸铁、AI铸铁产品分别达到了国标和欧标。昌昊拥有四百余名出色的员工,为企业的发展贡献力量。其中,质量管理人员70余人,昌昊始终把质量监控放在首位,对生产过程中的每一个步骤都进行严格把关,确保生产的每件产品均具有优异的产品质量。 (2) 主要产品及产量
(3) 生产工艺
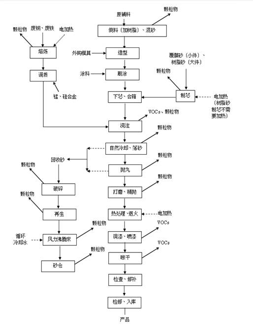
图2.1-1天津昌昊实业有限公司加工厂工艺流程图
图2.1-2天津昌昊实业有限公司铸造厂工艺流程图
(4) 工业生产过程排放情况 天津昌昊实业有限公司主要能源、资源消耗品种为电力、柴油。 电力:由市政管网供电,进线电压为10kV,加工厂主变压器为1台(XBJ1-630KVA)铸造厂变压器为3台(ZSS-2000/10、S11-800-10/0.4、S11-315-10/0.4),主要为生产车间及其他部门使用。 |
|||||||||||||||||
|
2018年能源消费量 |
|||||||||||||||||
|
能源名称 |
计量单位 |
消费量 |
加工转换 投入合计 |
能源加工 转换产出 |
回收 利用 |
折标系数 |
|||||||||||
|
电力 |
万千瓦时 |
1572+265=1837 |
- |
- |
- |
1.229 |
|||||||||||
|
柴油 |
吨 |
26.87+6.83=33.7 |
- |
- |
- |
1.4571 |
|||||||||||
|
综合能源消费量 |
吨标准煤 |
2306.8 |
|||||||||||||||
|
2018年工业总产值 |
|||||||||||||||||
|
工业总产值(万元) |
18543 |
数据来源 |
财务报表 |
||||||||||||||
3、核算边界确定
|
(1) 组织边界:
3.1-1天津昌昊实业有限公司组织边界图 (2) 排放边界: 1、加工厂: ![]() 2、铸造厂:![]() 3.1-2 天津昌昊实业有限公司排放边界图 |
||||
|
公司名称 |
碳排放分类 |
排放源/设施 |
备注 |
|
|
天津昌昊实业有限公司 |
直接 排放 |
化石燃料燃烧 |
柴油 |
-- |
|
工业生产过程 |
不涉及 |
-- |
||
|
间接排放 |
þ外购电力o外购热力 |
|
||
铸造厂主要设备一览表

加工厂普通设备清单

加工中心数控设备清单

|
年份 |
2018年 |
|
数值 |
1837 |
|
单位 |
万千瓦时 |
|
数据来源 |
能源购进、消费与库存 |
|
测量方法 |
电表测量 |
|
测量频次 |
连续监测 |
|
数据缺失处理 |
数据无缺失 |
|
交叉核对 |
核查组查阅了2018年1-12月能源购进、消费与库存,汇总得到2018年外购电力消费量为1194.36万千瓦时,与《排放报告》一致。 核查组查阅了2018年1-12月电力台账,汇总得到电力消费量为2029万千瓦时,与能源购进、消费与库存汇总数据一致。企业解释为能源消费、购进与库存根据每月台账数据填报,故数据一致。核查组认为企业解释合理,可以采信。核查组根据核查原则采用能源购进、消费与库存的数据。 |
|
核查结论 |
核查组通过以上交叉核对过程,采用能源购进、消费与库存中的数据作为外购电力消费量活动水平数据来源。确认企业外购电力2018年消费量为2029万千瓦时。 |
表4.2-2电力消耗的数据核对(单位:千瓦时)
|
2018年 |
能源消费、购进与库存 |
电力台账 |
排放报告 |
||
|
加工厂 |
铸造厂 |
加工厂 |
铸造厂 |
||
|
1月 |
258245 |
1483708 |
258245 |
1483708 |
1194.36 |
|
2月 |
219765 |
1629041 |
219765 |
1629041 |
|
|
3月 |
150085 |
963797 |
150085 |
963797 |
|
|
4月 |
213965 |
1377353 |
213965 |
1377353 |
|
|
5月 |
192545 |
1516018 |
192545 |
1516018 |
|
|
6月 |
221195 |
1460152 |
221195 |
1460152 |
|
|
7月 |
255556 |
1260368 |
255556 |
1260368 |
|
|
8月 |
270555 |
1281139 |
270555 |
1281139 |
|
|
9月 |
181255 |
971007 |
181255 |
971007 |
|
|
10月 |
220285 |
1260365 |
220285 |
1260365 |
|
|
11月 |
216515 |
1387843 |
216515 |
1387843 |
|
|
12月 |
250155 |
1130525 |
250155 |
1130525 |
|
|
合计 |
1837万 |
1837万 |
1837万 |
||
|
最终核查值 |
1837万 |
||||
表4.2-5对柴油消耗量的核查
|
年份 |
2018年 |
|
数值 |
33.7 |
|
单位 |
吨 |
|
数据来源 |
能源购进、消费与库存 |
|
交叉核对 |
核查组查阅了2018年1-12月能源购进、消费与库存,汇总得到2018年柴油消费量为25.8吨,与《排放报告》一致。 核查组查阅了2018年1-12月柴油台账,汇总得到柴油消费量为25.8吨,与能源购进、消费与库存汇总数据一致。企业解释为能源消费、购进与库存根据每月台账数据填报,故数据一致。核查组认为企业解释合理,可以采信。核查组根据核查原则采用能源购进、消费与库存的数据。 |
|
核查结论 |
核查组通过以上交叉核对过程,采用能源购进、消费与库存中的数据作为柴油消费量活动水平数据来源。确认企业柴油2018年消费量为25.8吨。 |
|
2018年 |
柴油台账 |
结算单 |
排放报告 |
||
|
加工厂 |
铸造厂 |
加工厂 |
铸造厂 |
||
|
1月 |
780 |
4557 |
780 |
4557 |
33.7 |
|
2月 |
420 |
2557 |
420 |
2557 |
|
|
3月 |
810 |
1431 |
810 |
1431 |
|
|
4月 |
570 |
500 |
570 |
500 |
|
|
5月 |
690 |
3311 |
690 |
3311 |
|
|
6月 |
630 |
2392 |
630 |
2392 |
|
|
7月 |
810 |
3000 |
810 |
3000 |
|
|
8月 |
810 |
3600 |
810 |
3600 |
|
|
9月 |
540 |
3100 |
540 |
3100 |
|
|
10月 |
720 |
3200 |
720 |
3200 |
|
|
11月 |
630 |
1554 |
630 |
1554 |
|
|
12月 |
630 |
2400 |
630 |
2400 |
|
|
合计 |
33.7 |
33.7 |
33.7 |
||
|
最终核查值 |
33.7 |
||||
综上所述,核查组确认排放报告中的所有活动水平数据真实可靠正确,且符合《中国钢铁生产企业温室气体排放核算方法与报告指南》(试行)要求。
表4.4-1 2018年化石燃料燃烧CO2排放量计算
4.4.2.1外购电力
外购电力CO2排放量计算见下表。

4.4.3排放量汇总
企业碳排放量汇总,如表4.4-3所示。
表4.4-3企业碳排放量汇总表
4.4.4 核算结果分析
表4.4-4碳排放强度水平分析结果
表5-1天津昌昊实业有限公司2018年二氧化碳排放量
核查过程中并未发现天津昌昊实业有限公司提供的《2018年度天津昌昊实业有限公司碳盘查报告》出现不符合项。
2018年企业碳排放信息表

6、核查资料附件

1. 营业执照





